
Apple Watch нового поколения, вопреки прогнозам сотрудников консалтинговых компаний, могут оказаться гораздо менее скучным апгрейдом за счет модульной конструкции. Это следует из материалов патентной документации, опубликованной Ведомством по патентам и товарным знакам США. Возможность установки сменных деталей позволит владельцам по собственному желанию дополнять функциональность устройства, сократив при этом его исходную цену в рознице и продлив срок службы всей платформы.
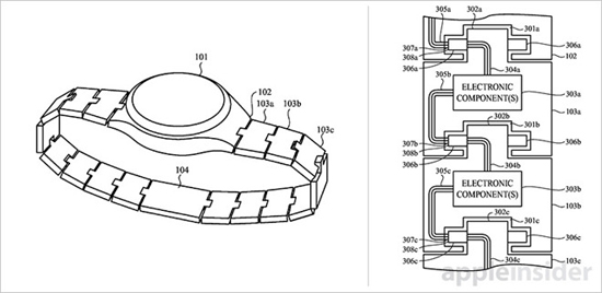
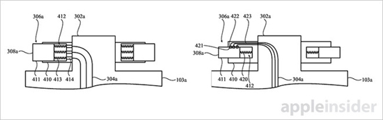
Патент описывает некую конструкцию в форме браслета для часов, сочетающую в себе несколько функциональных зон, каждая из которых имеет соединение с головным устройством и отвечает за выполнение конкретной задачи. Все зоны, согласно описанию, представляют собой съемные устройства ввода и вывода, позволяя предположить о возможной интеграции в браслеты будущих Apple Watch не только вибромотора Taptic Engine, но и миниатюрных камер, датчиков слежения за состоянием здоровья пользователя и аккумуляторов с активным фотоэлементом.


Согласно информации, доступной из открытых источников, в Купертино давно помышляют над способами совершенствования проекта смарт-часов, избрав в качестве приоритетного направления модульную конструкцию. Об этом стало известно еще в прошлом году, когда компания получила патент, описывающий особый метод изменения внутреннего строения часов путем переноса ряда деталей в ремешок. Теперь, кажется, проект дорос до того, чтобы позволить владельцам менять лишь функциональные звенья, вместо того чтобы менять браслеты целиком.
Источник: appleinsider.ru










